


原理
EYH系列二维运动混合机主要由转筒、摆动架、机架三大部分构成。转筒装在摆动架上,由四个滚轮支撑并由两个挡轮对其进行轴向定位。在四个支撑滚轮中,其中两个传动轮由转动动力系统拖动使转筒产生转动;摆动架由一组曲柄摆杆机构来驱动,曲柄摆杆机构装在机架上,摆动架由轴承组件支撑在机架上。特点
EYH系列二维运动混合机的转筒可同时进行二个运动,一个为转筒的转动,另一个为转筒随摆动架的摆动。被混合物料在转筒内随转筒转动、翻转、混和的同时,又随转筒的摆动而发生左右来回的掺混运动,在这两个运动的共同作用下,物料在短时间内得到充分的混合。EYH二维混科机适合所有粉、粒状物料的混合。外型示意图
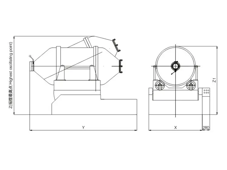
技术参数
